Volume 46 Issue 9
Sep.  2025
Turn off MathJax
Article Contents
SHI Yinghui, TANG Huaiping, ZHAO Yingzhi. Study on Natural Vibration Characteristics of Bidirectional Functionally Graded Material Beams With Cracks and Geometric Imperfections[J]. Applied Mathematics and Mechanics, 2025, 46(9): 1147-1157. doi: 10.21656/1000-0887.450213
Citation: SHI Yinghui, TANG Huaiping, ZHAO Yingzhi. Study on Natural Vibration Characteristics of Bidirectional Functionally Graded Material Beams With Cracks and Geometric Imperfections[J]. Applied Mathematics and Mechanics, 2025, 46(9): 1147-1157. doi: 10.21656/1000-0887.450213

Study on Natural Vibration Characteristics of Bidirectional Functionally Graded Material Beams With Cracks and Geometric Imperfections

doi: 10.21656/1000-0887.450213
  • Received Date: 2024-07-15
  • Rev Recd Date: 2025-06-07
  • Publish Date: 2025-09-01
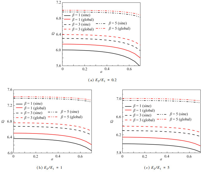
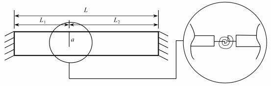
  • Based on the Timoshenko beam theory, in view of geometric imperfections and cracks, the governing equations for bi-directional functionally graded beams were derived under the Hamiltonian principle. The cracked section was modeled with a massless elastic rotational spring, and the governing equations were solved with the differential quadrature method. The effects of geometric imperfection types, geometric imperfection dimensionless vibration amplitudes, crack depths, and other factors on the dimensionless frequencies were explored. The results show that, for a certain axial functional gradient index value, the dimensionless fundamental frequency increases with the dimensionless amplitude of the geometric imperfection, and decreases with the of crack depth. Moreover, the influence of the global imperfection on the dimensionless fundamental frequency is greater than the sine imperfection.

  • loading
  • [1]
    LOH G H, PEI E, HARRISON D, et al. An overview of functionally graded additive manufacturing[J]. Additive Manufacturing, 2018, 23 : 34-44. doi: 10.1016/j.addma.2018.06.023
    [2]
    ZHANG B, JAISWAL P, RAI R, et al. Additive manufacturing of functionally graded material objects: a review[J]. Journal of Computing and Information Science in Engineering, 2018, 18 (4): 041002. doi: 10.1115/1.4039683
    [3]
    DUBEY A, JAISWAL S, HALDAR S, et al. Functionally gradient magnesium-based composite for temporary orthopaedic implant with improved corrosion resistance and osteogenic properties[J]. Biomedical Materials, 2021, 16 (1): 015017. doi: 10.1088/1748-605X/abb721
    [4]
    陈琦, 马连生, 郭章新. 功能梯度材料梁自由振动的线性与非线性振动[J]. 力学与实践, 2023, 45 (3): 520-525.

    CHEN Qi, MA Liansheng, GUO Zhangxin. Linear and nonlinear vibration of free vibration of functional gradient material beams[J]. Mechanics in Engineering, 2023, 45 (3): 520-525. (in Chinese)
    [5]
    滕兆春, 马铃权, 付小华. 多孔功能梯度材料Timoshenko梁的非线性自由振动分析[J]. 西北工业大学学报, 2022, 40 (5): 1145-1154.

    TENG Zhaochun, MA Lingquan, FU Xiaohua. Nonlinear free vibration analysis of Timoshenko beams with porous functionally graded materials[J]. Journal of Northwestern Polytechnical University, 2022, 40 (5): 1145-1154. (in Chinese)
    [6]
    GHAZARYAN D, BURLAYENKO V N, AVETISYAN A, et al. Free vibration analysis of functionally graded beams with non-uniform cross-section using the differential transform method[J]. Journal of Engineering Mathematics, 2018, 110 (1): 97-121. doi: 10.1007/s10665-017-9937-3
    [7]
    SHAHBA A, RAJASEKARAN S. Free vibration and stability of tapered Euler-Bernoulli beams made of axially functionally graded materials[J]. Applied Mathematical Modelling, 2012, 36 (7): 3094-3111. doi: 10.1016/j.apm.2011.09.073
    [8]
    葛仁余, 张金轮, 姜忠宇, 等. 轴向功能梯度变截面Timoshenko梁自由振动的研究[J]. 振动与冲击, 2017, 36 (22): 158-165.

    GE Renyu, ZHANG Jinlun, JIANG Zhongyu, et al. Free vibration analysis of axially functionally Timoshenko beams with a non-uniform cross-section[J]. Journal of Vibration and Shock, 2017, 36 (22): 158-165. (in Chinese)
    [9]
    杜运兴, 程鹏, 周芬. 变截面功能梯度Timoshenko梁的自由振动分析[J]. 湖南大学学报(自然科学版), 2021, 48 (5): 55-62.

    DU Yunxing, CHENG Peng, ZHOU Fen. Free vibration analysis of functionally graded Timoshenko beams with variable section[J]. Journal of Hunan University (Natural Sciences), 2021, 48 (5): 55-62. (in Chinese)
    [10]
    KE L L, YANG J, KITIPORNCHAI S. An analytical study on the nonlinear vibration offunctionally graded beams[J]. Meccanica, 2010, 45 (6): 743-752. doi: 10.1007/s11012-009-9276-1
    [11]
    ZHAO Y, TANG H, ZHANG B, et al. Effect of hygrothermal loads on the nonlinear vibration of porous bi-directional functionally graded beams placed on an elastic foundation[J]. International Journal of Structural Stability and Dynamics, 2024, 24 (11): 2450114. doi: 10.1142/S0219455424501141
    [12]
    赵英治, 唐怀平, 赖泽东, 等. 弹性地基上多孔二维功能梯度材料微梁自由振动研究[J]. 应用数学和力学, 2023, 44 (11): 1354-1365. doi: 10.21656/1000-0887.440050

    ZHAO Yingzhi, TANG Huaiping, LAI Zedong, et al. Free vibration analysis of porous 2D functionally graded material microbeams on winkler's foundation[J]. Applied Mathematics and Mechanics, 2023, 44 (11): 1354-1365. (in Chinese) doi: 10.21656/1000-0887.440050
    [13]
    雷剑, 谢宇阳, 姚明格, 等. 变截面二维功能梯度微梁的振动和屈曲特性[J]. 应用数学和力学, 2022, 43 (10): 1133-1145. doi: 10.21656/1000-0887.420323

    LEI Jian, XIE Yuyang, YAO Mingge, et al. Vibration and buckling characteristics of 2D functionally graded microbeams with variable cross sections[J]. Applied Mathematics and Mechanics, 2022, 43 (10): 1133-1145. (in Chinese) doi: 10.21656/1000-0887.420323
    [14]
    YOUCEF T, RABIA B, DAOUADJI T H. Study and analysis of the free vibration for FGM microbeam containing various distribution shape of porosity[J]. Structural Engineering and Mechanics, 2021, 77 (2): 217-229.
    [15]
    马明辉, 郑玉芳, 陈昌萍. 含裂纹功能梯度材料Timoshenko梁的非线性静力分析[J]. 贵州大学学报(自然科学版), 2021, 38 (6): 98-103.

    MA Minghui, ZHENG Yufang, CHEN Changping. Nonlinear static analysis of cracked functionally graded material Timoshenko beam[J]. Journal of Guizhou University (Natural Sciences), 2021, 38 (6): 98-103. (in Chinese)
    [16]
    衡星, 朱翔, 李天匀, 等. 含裂纹功能梯度材料梁结构的振动功率流特性分析[J]. 噪声与振动控制, 2017, 37 (4): 40-46.

    HENG Xing, ZHU Xiang, LI Tianyun, et al. Vibrational power flow analysis of the functionally graded beam with an open crack[J]. Noise and Vibration Control, 2017, 37 (4): 40-46. (in Chinese)
    [17]
    YAYLACI M, YAYLACI E U, OZDEMIR M E, et al. Vibration and buckling analyses of FGM beam with edge crack: Finite element and multilayer perceptron methods[J]. Steel and Composite Structures, 2023, 46 (4): 565-575.
    [18]
    LIU H, WU H, LYU Z. Nonlinear resonance of FG multilayer beam-type nanocomposites: effects of graphene nanoplatelet-reinforcement and geometric imperfection[J]. Aerospace Science and Technology, 2020, 98 : 105702. doi: 10.1016/j.ast.2020.105702
    [19]
    田婷婷, 王忠民, 王清波. 初始几何缺陷的功能梯度梁振动特性分析[J]. 力学与实践, 2022, 44 (5): 1151-1158.

    TIAN Tingting, WANG Zhongmin, WANG Qingbo. Vibration characteristics analysis of functionally graded beams with initial geometric defect[J]. Mechanics in Engineering, 2022, 44 (5): 1151-1158. (in Chinese)
    [20]
    GUO L J, MAO J J, ZHANG W, et al. Modeling and analyze of behaviors of functionally graded graphene reinforced composite beam with geometric imperfection in multiphysics[J]. Aerospace Science and Technology, 2022, 127 : 107722. doi: 10.1016/j.ast.2022.107722
    [21]
    ZHANG W, GUO L J, WANG Y, et al. Nonlinear low-velocity impact response of GRC beam with geometric imperfection under thermo-electro-mechanical loads[J]. Nonlinear Dynamics, 2022, 110 (4): 3255-3272. doi: 10.1007/s11071-022-07809-5
    [22]
    KITIPORNCHAI S, KE L L, YANG J, et al. Nonlinear vibration of edge cracked functionally graded Timoshenko beams[J]. Journal of Sound and Vibration, 2009, 324 (3/4/5): 962-982.
    [23]
    KE L L, YANG J, KITIPORNCHAI S, et al. Flexural vibration and elastic buckling of a cracked Timoshenko beam made of functionally graded materials[J]. Mechanics of Advanced Materials and Structures, 2009, 16 (6): 488-502. doi: 10.1080/15376490902781175
    [24]
    石兴东, 程鹏, 张宇飞. 带裂纹石墨烯增强金属泡沫梁的振动特性研究[J]. 动力学与控制学报, 2024, 22 (3): 48-55.

    SHI Xingdong, CHENG Peng, ZHANG Yufei. Study on vibration characteristics of cracked metal foam beams reinforced with graphene[J]. Journal of Dynamics and Control, 2024, 22 (3): 48-55. (in Chinese)
    [25]
    DIMAROGONAS A D. Vibration of cracked structures: a state of the art review[J]. Engineering Fracture Mechanics, 1996, 55 (5): 831-857. doi: 10.1016/0013-7944(94)00175-8
    [26]
    CHONDROS T G, DIMAROGONAS A D, YAO J. A continuous cracked beam vibration theory[J]. Journal of Sound and Vibration, 1998, 215 (1): 17-34. doi: 10.1006/jsvi.1998.1640
  • 加载中

Catalog

    通讯作者: 陈斌, bchen63@163.com
    • 1. 

      沈阳化工大学材料科学与工程学院 沈阳 110142

    1. 本站搜索
    2. 百度学术搜索
    3. 万方数据库搜索
    4. CNKI搜索

    Figures(6)  / Tables(4)

    Article Metrics

    Article views (42) PDF downloads(3) Cited by()
    Proportional views
    Related

    /

    DownLoad:  Full-Size Img  PowerPoint
    Return
    Return